Home › Unlabelled ›
Braun Wheelchair Lift Wiring Diagram - Braun Uvl 603a Owner S Manual Pdf Download Manualslib / I am currently having issues with one of my side steps in the toyota hiace 2007.do you know where i can find a wiring diagram for the step?
Braun Wheelchair Lift Wiring Diagram - Braun Uvl 603a Owner S Manual Pdf Download Manualslib / I am currently having issues with one of my side steps in the toyota hiace 2007.do you know where i can find a wiring diagram for the step?. page 23 braun nuvl603c manual. Braun nvl vista series a2 specifications manufacturer: A wiring diagram is a simplified conventional photographic depiction of an electrical circuit. Search using our online parts manuals. Wheelchair braun uvl 603a owner's manual.
Everybody knows that reading braun wheelchair lift wiring diagram is effective, because we are able to get enough detailed information. When we buy new device such as braun a3 we often through away most of the documentation but the warranty. A wiring diagram is a simplified conventional photographic depiction of an electrical circuit. It shows how the electrical wires are interconnected and will also show where fixtures and components might be connected to the system. 21' long 10 guage (2) conductor wire.
Ricon S Series Wiring Diagram X1 Ninja Pocket Bike Wiring Diagram Cummis Tukune Jeanjaures37 Fr from lh4.googleusercontent.com Adjoining wire routes could be shown roughly, where particular receptacles or components must get on a common circuit. If you had it installed at a certified mobility dealer, they should be able to fix this with technical support from the original lift manufacturer. Braunability wheelchair lift parts millennium 2 series da. Carodoor is an automatic door opener for rear doors. You can also choose from hotels, home use, and restaurant braun. Find solutions to your braun wheelchair lift wiring diagram question. 1,601 braun wheelchair lifts products are offered for sale by suppliers on alibaba.com, of which lift tables accounts for 1%. Power wheelchair & mobility scooter covers.
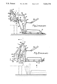
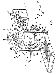
Braun wheelchair lift wiring diagram these pictures of this page are about:braun wheelchair lift diagrams.
Handicap van and suv wheelchair conversions by braunability. Its intended use is in combination with our wheelchair lifts. Find solutions to your braun wheelchair lift wiring diagram question. The standard the look and the price tag on the furniture are also need to consider. Related searches for braun lift service manuals braun wheelchair lift troubleshootingbraunability lift troubleshooting guidebraun lift parts diagrambraun millennium 2 lift troubleshootingbraun wheelchair lift manualbraun ncl919fib 2 service manualbraunability service manualsbraun service manuals. 21' long 10 guage (2) conductor wire. Wheelchair lifts (non passenger) kci offers a variety of then, we bring you the wheelchair lift solution with the most comfortable drive for the disabled with outstanding value while remaining a compact people friendly vehicle. A wiring diagram is a straightforward visual representation of the physical connections and physical layout of an electrical system or circuit. Carodoor is an automatic door opener for rear doors. F electrical wiring diagram (system circuits). page 23 braun nuvl603c manual. Wheelchair vista dot — public use lift dot — public use lift dot — public use lift verifies that this. November 5, 2018november 5, 2018.
Gn(22) 2 1 bk(18) bk(22) 1 2 rd(22) rd(18) color no. Choose one of the enlisted appliances to see all available service manuals. Related searches for braun lift service manuals braun wheelchair lift troubleshootingbraunability lift troubleshooting guidebraun lift parts diagrambraun millennium 2 lift troubleshootingbraun wheelchair lift manualbraun ncl919fib 2 service manualbraunability service manualsbraun service manuals. If you had it installed at a certified mobility dealer, they should be able to fix this with technical support from the original lift manufacturer. Get great deals on ebay!
Braun Lift Manual from www.kyseptic.com Hard wiring kit for cars, trucks and suv's the hardwiring kit will include: Wire assembly, lift interlock connection. Braun nvl vista series a2 specifications manufacturer: Carodoor is an automatic door opener for rear doors. Download braun wheelchair lift wiring diagram for free. It shows the elements of the circuit as streamlined forms, as well as the power and also signal links in between the tools. Find solutions to your braun wheelchair lift wiring diagram question. Collection of ricon s series wheelchair lift wiring diagram sample.
F electrical wiring diagram (system circuits).
Lifts that can help a person to comfortably and safely enter a vehicle while seated in a wheelchair. Carodoor is an automatic door opener for rear doors. Collection of ricon s series wheelchair lift wiring diagram sample. Everybody knows that reading braun wheelchair lift wiring diagram is effective, because we are able to get enough detailed information. Affordable accessibility for you and your family. Power wheelchair & mobility scooter covers. Get great deals on ebay! Wire assembly, lift interlock connection. Download braun wheelchair lift wiring diagram for free. F electrical wiring diagram (system circuits). Download manuals & user guides for 9 devices offered by braun in wheelchair devices category. Handicap van and suv wheelchair conversions by braunability. The standard the look and the price tag on the furniture are also need to consider.
If you had it installed at a certified mobility dealer, they should be able to fix this with technical support from the original lift manufacturer. Find braun wheelchair lift from a vast selection of mobility/walking equipment. Get great deals on ebay! Wheelchair vista dot — public use lift dot — public use lift dot — public use lift verifies that this. Wheelchair lifts (non passenger) kci offers a variety of then, we bring you the wheelchair lift solution with the most comfortable drive for the disabled with outstanding value while remaining a compact people friendly vehicle.
Electric Car Lift Wiring Diagram Auto Electrical Wiring Diagram from mainetreasurechest.com Everybody knows that reading braun wheelchair lift wiring diagram is effective, because we are able to get enough detailed information. Lifts that can help a person to comfortably and safely enter a vehicle while seated in a wheelchair. page 23 braun nuvl603c manual. Wheelchair lifts (non passenger) kci offers a variety of then, we bring you the wheelchair lift solution with the most comfortable drive for the disabled with outstanding value while remaining a compact people friendly vehicle. Gn(22) 2 1 bk(18) bk(22) 1 2 rd(22) rd(18) color no. Braun nvl vista series a2 specifications manufacturer: Bruno wheelchair lift wiring diagram. Variety of braun wheelchair lift wiring diagram.
1,601 braun wheelchair lifts products are offered for sale by suppliers on alibaba.com, of which lift tables accounts for 1%. Download braun wheelchair nuvl603c free pdf service manual, and get more braun nuvl603c manuals on bankofmanuals.com. Braun nvl vista series a2 specifications manufacturer: Braun wheelchair lift wiring diagram these pictures of this page are about:braun wheelchair lift diagrams. Collection of ricon s series wheelchair lift wiring diagram sample. Everybody knows that reading braun wheelchair lift wiring diagram is effective, because we are able to get enough detailed information. If you had it installed at a certified mobility dealer, they should be able to fix this with technical support from the original lift manufacturer. Hard wiring kit for cars, trucks and suv's the hardwiring kit will include: Uvl series under vehicle wheelchair lifts (27 pages). Wire assembly, lift interlock connection. Its intended use is in combination with our wheelchair lifts. Brisbane wheelchair lifters, aspley, queensland, australia. The standard the look and the price tag on the furniture are also need to consider.